El Motor Diesel en el Automovil
Esta es solo una lección de ejemplo, para
conseguir el manual completo haz
click aquí
PARTE ELÉCTRICA DE MOTORES DIESEL
Para completar el estudio del motor Diesel en su
aplicación a los automóviles no quedan por considerar
todavía aquellas modificaciones en su circuito eléctrico
que lo diferencian de la ya hoy complicada instalación eléctrica
de un automóvil de gasolina. Por lo pronto sabemos que el
motor Diesel carece de sistema eléctrico de encendido de
modo que por aquí puede simplificarse la instalación.
Pero, por otra parte, el motor Diesel es más difícil
de poner en funcionamiento, sobre todo cuando está frío;
además, la mayor relación de compresión a que
somete al aire aspirado requiere un esfuerzo mucho más grande
por parte del motor de arranque. Estos inconvenientes los han resuelto
los ingenieros acudiendo a la energía eléctrica y
así han aplicado a la cámara de precombustión
unas resistencias eléctricas que proporcionan una gran cantidad
de calor para calentar las cámaras antes del primer intento
de puesta en marcha. Todo ello hace que se precie de una batería
de acumuladores de mayor capacidad y de un motor de arranque más
potente y, para el buen equilibrio de la instalación, de
un alternador también capaz de una mayor producción
de energía eléctrica.
Dadas estas condiciones, la parte eléctrica
de los motores Diesel sufre algunas modificaciones de cierta importancia
en el circuito general, y resulta muy conveniente para un mecánico
electricista, acostumbrado a la instalación de los motores
de gasolina, conocer las diferencias entre estos circuitos. Este
es el objetivo de este breve capítulo.
De lo dicho se deduce que no vamos a entrar en
detalles de todos aquellos elementos que son comunes a los automóviles
equipados con motores de explosión y los equipados con motor
Diesel, tales como los sistemas de iluminación, señalización,
control, limpiaparabrisas, etcétera, sino que vamos a ceñirnos
exclusivamente a aquellos lugares en los que humos de encontrar
algunas diferencias.
Dificultades en el arranque
Como ya se ha podido ver por todas las explicaciones
que sobre el motor Diesel hemos dado en páginas anteriores,
la propia concepción del ciclo de este tipo de motor lo hace
difícil de arrancar, sobre todo cuando el motor esta frío
y mucho más si a ello se añade el hecho de que la
temperatura del aire también sea muy baja. La razón
es muy simple; Tratándose de un motor que produce el encendido
de la mezcla del gasóleo con el aire en virtud de la temperatura
que se alcanza al final de la compresión del mismo, es lógico
pensar que se necesite una temperatura mínima por debajo
de la cual el autoencendido de la mezcla ya no pueda realizarse.
Si bien el aire sometido a una determinada y alta compresión
siempre alcanza la misma temperatura de que se parte de modo que
si el motor aspira el aire a 20 ºC la temperatura final de
compresión será mayor que si lo aspira a 20 ºC
bajo cero. Pero además ocurre que las paredes del cilindro
están muy frías y el desnivel térmico que se
produce es tan considerable que el calor adquirido por el aire es
robado de inmediato por las partes frías que lo rodean de
modo que, en estas circunstancias, al final de la compresión
el aire comprimido puede llenar la cámara a una temperatura
excesivamente baja e insuficiente para que el arranque se pueda
producir.
Pero a ello hay que añadir todavía
más factores. Por ejemplo, el gasóleo está
también muy frío, resulta demasiado espeso y no se
pulveriza tan fácilmente; el aceite de engrase del motor
también está espeso y dificulta el giro de las partes
móviles del motor; la batería, al tener frío
el electrolito, no puede desarrollar toda su potencia y se agota
momentáneamente con gran facilidad, etcétera. Todas
estas condiciones adversas para el motor Diesel han sido solucionadas
a base de unas resistencias calefactores que al calentar la cámara
de combustión, o bien el aire de admisión, consiguen
que las pérdidas de calor del aire comprimido sean lo suficientemente
pequeñas para que la temperatura de autoencendido del gasóleo
se mantenga y el arranque sea posible. Por supuesto, después
que el motor ya ha conseguido arrancar el calor que genera la combustión
se va acumulando y se consigue con ello que el conjunto se vaya
calentando de modo que la temperatura de autoencendido se va incrementando
poco a poco hasta el momento en que el motor ya está en condiciones
conveniente para arrastrar al vehículo al que propulsa.
En los motores de inyección indirecta la
puesta en marcha es todavía más difícil que
en los motores de inyección directa, de ahí la absoluta
necesidad del empleo de las bujías de precalentamiento que
hemos visto en todos los ejemplos que hemos puesto a lo largo de
este libro formando parte de las cámaras de turbulencia,
Veamos a continuación qué son y cómo funcionan
estos elementos.
Bujías de precalentamiento

Las bujías de precalentamiento, también
conocidas también con el nombre de bujías de incandescencia,
son en realidad unos calefactores que desarrollan gran cantidad
de calor al ponerse incandescentes sus filamentos por el paso de
una corriente eléctrica a través de ellos. En la figura
1 tenemos tres tipos diferentes de bujías de este tipo.
En la figura 2 podemos ver la sencilla constitución
interna de una bujía de precalentamiento. Está constituida
por una espiral de hilo de alta resistividad eléctrica, de
un diámetro que oscila entre 2 a 3 mm. Este cuerpo tubular
se fija al bloque del cilindro por medio de una tuerca hexagonal
(A) que lleva el roscado exteriormente. El aislamiento entre el
cuerpo tubular y el bloque del cilindro está asegurado por
medio de un aislante. Cuando la corriente eléctrica atraviesa
el filamento lo pone incandescente por el mismo principio utilizado
en las estufas eléctricas de incandescencia, de modo que
se irradia una gran cantidad de calor que puede ser del orden de
los 800 ºC. Si en cada de las precámaras de combustión
se dejan conectas estas bujías durante 30 a 60 segundos antes
de intentar la puesta en marcha del motor se consigue que las precámaras
se alienten a una buena temperatura que luego se trasladará
al aire comprimido haciendo que éste proporcione una buena
temperatura de autoencendido para el combustible. Esta es la misión
de estas bujías.

Una vez que el motor ya caliente las bujías
se desconectan y el motor se pone en marcha y funciona ya con su
propia temperatura.
En la figura 3 puede ver el lector la disposición que unas
de estas bujías adopta en una cámara de turbulencia
de tipo Ricardo

Esta es solo una lección de ejemplo, para conseguir el manual
completo haz click
aquí
Diferentes clases de bujías
Existen dos tipos de bujías de precalentamiento
que son aplicadas según el diseño del motor. Un tipo
más antiguo es el denominado de filamento incandescente que
puede verse en la figura 4 en una vista seccionada para mostrar
con detalle su constitución interna. La característica
fundamental de esta bujía está representada por el
hecho de que lleva su filamento (8) al aire y por ello se mantiene
permanentemente en contacto con la combustión cuando la bujía
ya está apagada, pero queda perjudicada por los efectos corrosivos
de la combustión durante todo el periodo de funcionamiento
del motor. La corriente eléctrica entra a través de
la conexión de la tuerca (1), atraviesa el electrodo central
(2), se pone incandescente en el filamento de alta resistividad
(8) y retorna por el electrodo de retorno (7) hasta el anillo de
contacto (3) donde una conexión la lleva a la próxima
bujía. En su interior se hallan la junta de estanquidad (6)
de efecto aislante y el cuerpo de acero (4) con su rosca (5) para
aplicarse a la culata del mismo modo que lo hacen las bujías
de encendido en los motores de gasolina corrientes.

Figura 5 Posibles averías de las bujías
de precalentamiento por rotura de su filamento
El elemento fundamental de esta bujía de
precalentamiento lo forma sin duda el trozo de conductor que forma
el filamento incandescente, Se fabrica de tungsteno y ha de ser
en la mayor manera posible resistente a los productos corrosivos
de la combustión como se ha dicho, pero también a
las vibraciones y a las altas temperaturas. Por ello su colocación
en la cámara ha de estar estudiada de modo que no llegue
a alcanzar directamente el dardo o chorro de gasóleo procedente
del inyector, pues ello acelera su corrosión y acaba por
deteriorar el filamento.
Aunque estas bujías de precalentamiento
trabajan muy poco (solamente en el momento de los arranques en frío)
están sometidas a todas las acciones de las altas presiones
que se establecen en la cámara por lo que su desgaste se
produce también de una manera paulatina. Cuando una de estas
bujías no funciona lo más probable es que se haya
partido el filamento produciendo una interrupción en el paso
de la corriente. Tal es el caso presentado en la figura 5 en la
que se pueden apreciar dos casos ocasionados por dos diferentes
causas: En A tenemos una situación de rotura del filamento
con desaparición de parte del mismo debido a un sobreexceso
de temperatura que puede haber estado causado por una inyección
excesivamente atrasada o adelantada con el caudal excesivo por parte
de la bomba o un mal tarado de los inyectores. En B, el filamento
sencillamente se ha partido produciendo la discontinuidad, situación
típica de un exceso de tensión ocasionado por cortocircuitos
de las otras bujías que se hallan conectadas en serie con
ella, o bien por una conexión defectuosa.

Figura 6 Posibles averías de las bujías
de precalentamiento por mala colocación de las mismas
También la mala colocación de la
bujía de precalentamiento puede ser causa de problemas. En
la figura 6 tenemos en A una mala colocación que ha dejado
a la bujía en contacto con las paredes de la cámara
con las que hace contacto y queda en cortocircuito. En B nos encontramos
también con una situación de cortocircuito pero esta
vez ocasionada por un exceso de carbonilla en la zona de asiento
y sus proximidades que pueden establecer contacto entre las paredes
de la cámara y el filamento de tungsteno.
Las bujías de este tipo descrito liberan
mucho calor en el momento de su aplicación y el hecho de
que su filamento esté al descubierto facilita esta circunstancia
pero, por otra parte, produce todos los efectos que hemos dicho
y hace que sea una pieza demasiado delicada, pese a su robustez.
Por ello se ha acudido a fabricar bujías de precalentamiento
de las llamadas de tipo lápiz o resistencia envainada que,
siguiendo la misma teoría, lo que hacen es proteger al filamento
de todos los agentes nocivos que pueden atacarlo por medio de una
cubierta protectora. Una bujía de este tipo la tenemos en
la figura 7. Comparando esta figura con lo que hemos visto en la
pasada figura 4 podremos ver que la diferencia es, fundamentalmente,
que lo que respecta a la cubierta protectora (7) y en la disposición
del filamento que se halla sumergido en material cerámico
perfectamente aislado de los efectos corrosivos de la combustión.
Las bujías de tipo lápiz son las
más utilizadas actualmente para los motores Diesel de precámara
de turbulencia que equipan a los automóviles, ya que resultan
muy seguras y de largo periodo de funcionamiento incluso aunque
el gasóleo de la inyección incida sobre ellas. Aunque
su poder calorífico resulte algo menor, la gran ventaja de
la protección de su filamento permite colocarlas en situación
muy favorable para el calentamiento del aire cuando en su turbulencia,
se enfrenta al chorro del inyector por lo que mejoran el rendimiento
del calentamiento del aire.

Figura 7. Bujía de precalentamiento
de tipo lápiz, de la marca beru mostrando su constitución
interior 1. Tuerca de conexión, 2. Electrodo central, 3.
Cuerpo, 4. Rosca, 5. Junta, 6. Filamento, 7. Cubierta protectora
Conexión de las bujías de precalentamiento
Desde el punto de vista eléctrico existen
dos formas de conectar las bujías de precalentamiento: o
bien en serie, en cuyo circuito la corriente pasa sucesivamente
por cada una de las bujías, o, bien en paralelo, por cuyo
circuito la corriente llega a cada una de las bujías al mismo
tiempo y vuelve a masa desde cada una de la bujías.
El segundo sistema es el más utilizado en
las instalaciones modernas. Un ejemplo del mismo se puede ver en
la figura 8 en la que se muestra el cableado de la instalación
eléctrica de un RENAULT, modelo 11, equipado con motor Diesel.
Por supuesto, este fragmento del esquema eléctrico de este
automóvil se refiere exclusivamente a la parte de las bujías
de precalentamiento (8) y a la parte eléctrica de la bomba
de inyección (6) correspondiente al avance. En esta figura
vemos la caja de distribución para el precalentamiento (1)
que lleva la corriente a los relés (2) de las bujías.
También puede verse que las bujías se hallan conectadas
en paralelo.
La conexión en serie tiene el inconveniente
de que, en el caso de interrupción o cortocircuito de algún
filamento o bujía queda automáticamente cortada la
alimentación de las otras bujías del conjunto, cosa
que no ocurre en la conexión en paralelo. Aquí, el
fallo de una bujía no afecta al funcionamiento de las restantes.
La luz testigo de que dispone el conductor en el panel de instrumentos
del automóvil le avisa cuando una bujía no funciona
porque se enciende muy débilmente. Si la luz testigo se enciende
de una manera brillante en el mismo momento de conectar las bujías
será señal de que un grupo importante de bujías
está en cortocircuito y se tendrá que desconectar
rápidamente pues hay peligro de que se funda la luz testigo.

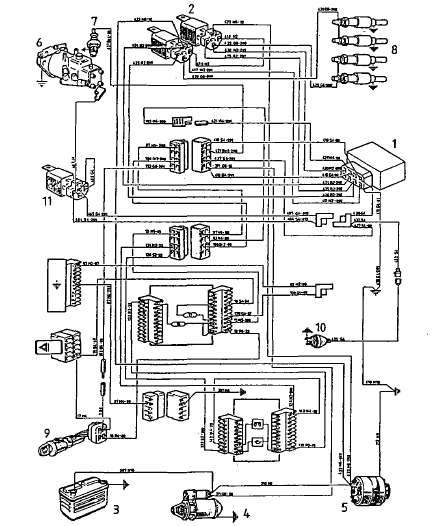
Figura 8. Esquema eléctrico parcial
de un automóvil Renault que muestra la disposición
de la parte eléctrica propia del motor diesel
- Caja de distribución para el precalentamiento
- Relés de las bujías de precalentamiento
- Batería de acumuladores
- Motor de arranque
- Alternador
- Bomba inyectora
- Electroválvula
- Bujías de precalentamiento
- Llave de contacto
- Manocontacto de la presión de aceite
- Relé del contactor de avance
Esta es solo una lección de ejemplo, para conseguir el manual
completo haz click
aquí
Puesta en marcha
En los manuales del usuario de todos los automóviles
equipados con motor Diesel se dan las instrucciones precisas para
conseguir una buena y rápida puesta en marcha del motor en
todas las condiciones. Hay que seguir las instrucciones dadas. En
líneas generales la forma de actuar es la que vamos a explicar
a continuación aunque es siempre necesario seguir las normas
que da el fabricante del motor si éstas no se ajustan del
todo a las que vamos a exponer, pues cada modelo de motor puede
tener pequeñas variantes según la potencia de su instalación
o el sistema adoptado.
Cuando está equipado con bujías de
precalentamiento, que es lo más normal, las bujías
han de conectarse antes de tratar de poner en marcha el motor cuando
éste está frío. Se tendrá que esperar
a que se calienten las cámaras en un periodo de tiempo de
puede variar entre 30 a 60 segundos según el estado de la
temperatura ambiente y el tiempo que hace que el motor no se ha
puesto en marcha y por lo tanto está completamente frío.
Pasado el tiempo citado se desconectan las bujías de precalentamiento
e inmediatamente se acciona al motor de arranque haciendo que voltee
el motor hasta que éste se ponga en marcha por sus propios
medios. Por supuesto, no hay que abusar del tiempo en que el motor
de arranque eléctrico está conectado pues ello descargaría
rápidamente la batería de acumuladores; por lo tanto,
los golpes de motor de arranque no deben ser superiores a los 5
ó 6 segundos.
Si en un primer intento el motor no se pone en
marcha puede ser debido a un exceso de frío en el mismo y
a una insuficiente aplicación de las bujías de precalentamiento.
Esperar unos momentos para que la batería se reponga y conectar
de nuevo las bujías del modo descrito anteriormente. Luego
desconectarlas de nuevo y volver a intentar con el motor de arranque.
Él motor ha de ponerse en marcha. Si no lo hace es que, posiblemente,
tiene alguna avería que es conveniente localizar antes de
insistir inútilmente.

Figura 9. Diferentes clases de resistencias
de calentamiento del aire de admisión
En los motores equipados con turbocompresor resulta
conveniente tomar la precaución de mantener cerrado el paso
del combustible en un primer volteo del motor de arranque para lograr
inicialmente que el aceite se ponga en circulación y acuda
al engrase del turbo. Luego ya puede procederse de manera habitual,
pero teniendo la precaución de mantener el motor por lo menos
durante dos minutos funcionando en marcha en vacío para lograr
que el engrase del rodete se efectúe con toda regularidad.
También resulta conveniente tomar medidas cuando se lleva
turbo para efectuar la parada del motor. No es recomendable parar
bruscamente el motor si éste está totalmente acelerado,
por el contrario se aconseja mantener a ralentí el motor
durante unos dos minutos antes de proceder a su parada.
Resistencias de calentamiento de la admisión
Especialmente en los motores de inyección
directa, en los que la puesta en marcha resulta mucho más
fácil que en los de inyección indirecta, se suelen
utilizar resistencias de calentamiento en la admisión para
que el aire, al pasar por ellas, se caliente y mejore sus condiciones
de temperatura al final de la compresión.
En la figura 9 podemos ver tres ejemplos diferentes
de resistencias de este tipo. Se instalan, por medio de tornillos,
en el mismo colector de admisión, a la entrada del mismo
y después del filtro de aire, de modo que éste debe
atravesar la resistencia para entrar en el colector y de allí
al cilindro. (Una instalación semejante la vimos también
en la figura 9 del pasado capítulo 9 cuando, al estudiar
el turbocompresor y sus problemas, indicamos la necesidad de calentar
el aire producido por los turbos en el momento del arranque por
el efecto de pérdida de temperatura que se producía
inicialmente al tener una relación de compresión más
baja que un motor atmosférico, en el momento del arranque):

Figura 10 Conexión de los cables en la resistencia
de calentamiento
- Resistencias de calentamiento
- Generador
- Conexión de la batería al amperímetro
- Botón de puesta en marcha
- Contactor de la resistencia
- Toma de corriente de la corona
- Relé de arranque
- Motor de arranque
- A la batería
El conjunto de la instalación eléctrica
de unas resistencias de calentamiento de la admisión puede
verse ahora en la figura 10. La corriente, procedente de la batería
por 9 pasa al conmutador de la resistencia (5) que establece el
circuito hacia las resistencias (1) colocadas en el colector de
admisión. Luego puede verse su retorno a masa a través
del cable.
Estas resistencias tienen también un elevado
consumo y no hay que abusar del tiempo de su conexión; pero
tienen también la ventaja de que pueden conectarse incluso
en marcha cuando el ambiente exterior resulte extraordinariamente
frío y el motor tenga dificultades de conseguir su temperatura
de régimen. En este caso, unos periodos cortos de aplicación
pueden servir para mejorar la temperatura de funcionamiento
Conclusión
No vamos a extendernos más en la parte eléctrica
del automóvil puesto que este tema es trabajo de especialistas.
Nuestro interés aquí ha sido simplemente destacar
una parte eléctrica original que no tiene porqué encontrarse
en los automóviles equipados con motor de gasolina. Todo
lo demás es igual en un automóvil dotado de motor
Diesel salvando solamente esta variante en el circuito de encendido
y en la mayor potencia de ciertos elementos que hemos indicado,
la cual viene además respaldada por la mayor cilindrada proporcional
que el motor Diesel tiene con respecto al motor de gasolina que
equipe a un automóvil. Está claro que si una versión
gasolina se equipa con un motor de 1.200 cm3 por ejemplo, y la versión
Diesel se equipa con un motor de 1.700 cm3, por el solo hecho de
su mayor cilindrada, este motor va a necesitar un motor de arranque
más potente (lo que se agrava además por el mayor
peso de su tren alternativo, su más elevada compresión
y un mayor esfuerzo para el arrastre inicial de todas estas masas)
y en su consecuencia una batería de mayor capacidad y un
alternador de mayor poder de producción de corriente. Pero
al margen de todas estas variantes un mecánico electricista
no se encuentra en absoluto incómodo dentro de una instalación
eléctrica de un automóvil dotado con el motor Diesel.
Esta es solo una lección de ejemplo, para conseguir el manual
completo haz click
aquí
|